近日,Famiiboards论坛上有网友发现了Switch 2的设计注册图,一起来看看。









这些图从不同角度展示了Switch 2,让用户可以清楚地看到设备顶部和底部的端口位置、microSD卡插槽的位置、打开支架后的外观等。
值得一提的是,在任天堂最新推出的Nintendo Today应用宣传图中,Switch 2神秘的“C”键终于得到了确认。更多关于Switch 2的信息也即将在4月2日的直面会上揭晓。
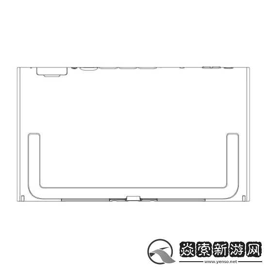
近日,Famiiboards论坛上有网友发现了Switch 2的设计注册图,一起来看看。









这些图从不同角度展示了Switch 2,让用户可以清楚地看到设备顶部和底部的端口位置、microSD卡插槽的位置、打开支架后的外观等。
值得一提的是,在任天堂最新推出的Nintendo Today应用宣传图中,Switch 2神秘的“C”键终于得到了确认。更多关于Switch 2的信息也即将在4月2日的直面会上揭晓。
Copyright © 2025 焱索新游网
沪ICP备19030283号-1 联系我:wd0oap6@163.com 网站地图
抵制不良游戏,拒绝盗版游戏。 注意自我保护,谨防受骗上当。 适度游戏益脑,沉迷游戏伤身。 合理安排时间,享受健康生活